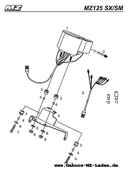
Detalles Velocímetro con cable Repuestos originales n° del pedido: 9016185000 N° de recambio MZ: 90-16.185 n° del catálogo: 1 GPSR Kontakt: MuZ - Motorrad-und Zweiradwerk GmbH, 09401 Zschopau 231,93 € Disponible
Detalles Gummibuchse 13,5x20x10 Repuestos originales n° del pedido: 9013257000 N° de recambio MZ: 90-13.257 n° del catálogo: 3 4,52 € Plazo de entrega 5-10 días laborables
Detalles Casquillo 10x1,5x12 Repuestos originales n° del pedido: 3634023000 N° de recambio MZ: 36-34.023 n° del catálogo: 4 7,50 € Plazo de entrega 5-10 días laborables
Detalles Instrumentenhalter Repuestos originales n° del pedido: 4134005000 N° de recambio MZ: 41-34.005 n° del catálogo: 5 GPSR Kontakt: MuZ - Motorrad-und Zweiradwerk GmbH, 09401 Zschopau 34,70 € Disponible
Detalles Arandela ancha 6,4 TGL 0-9021 St n° del pedido: 94-36.062 N° de recambio MZ: 94-36.062 94-36.038 34-36.038 9013305000 9436062000 N° de recambio Simson: 9900134242 092300 9900032198 0903079900134121 26035023 9900447073 N° de recambio AWZ: 9900134033 N° de recambio ZAK: 1357311118141051 1357311003011089 n° del catálogo: 6 0,50 € Disponible
Detalles Tornillo hueco hexagonal - M6x25 DIN 912 galvanizado n° del pedido: 94-16.444 N° de recambio MZ: 94-16.444 81-45.861 81-40.760 94-12.457 9412457000 9412971000 94-12.971 8011/3614 840-861 N° de recambio Simson: 090611 150210 090608 N° de recambio AWZ: 9900074100 N° de recambio ZAK: 1357111204323488 n° del catálogo: 7 1,20 € Disponible
Detalles Tuerca hexagonal - M6-8-A4K (DIN 985) - autobloqueante n° del pedido: 94-30.098 N° de recambio MZ: 94-30.098 94-30.096 9430098000 9430098655 N° de recambio Simson: 090032 MZ 500 NR, VR, S, V n° del catálogo: 8 0,70 € Disponible
Detalles Tuerca hexagonal DIN 985-M6-8-A4R Repuestos originales n° del pedido: 9430098655 N° de recambio MZ: 94-30.098 9430098000 n° del catálogo: 8 1,79 € Disponible
Detalles Bombilla - base de cristal - 12V/1,2W n° del pedido: 8050583000 N° de recambio MZ: 80-50.583 n° del catálogo: 10 4,52 € Plazo de entrega 5-10 días laborables
Detalles Bombilla - base de cristal - 12V 1,2W W2x4,6D - ECE W1,2W (GLÜWO Germany) dimensiones: 5x20 n° del pedido: 84006 GTIN/EAN: 4056144026457 N° de recambio MZ: 9013378000 90-13.378 95-21.012 9521012000 N° de recambio Simson: 391320 391310 n° del catálogo: 11 GPSR Kontakt: MZA Meyer-Zweiradtechnik GmbH, Zeppelinstr. 1, 98617 Meiningen gpsr@mza.de https://www.mza-vertrieb.de/ 1,80 € Disponible